Rotho Blaas
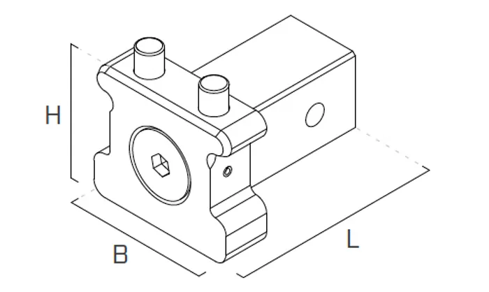
Openable End Element H-Rail
Openable end element H-Rail.
H-RAIL ON WALL is an innovative anchoring system for working at height, designed by Rothoblaas to provide maximum protection and ease of installation on various structures (wood, concrete, steel). The system is mounted directly on the wall and requires a minimum number of fixing points, up to 6 metres apart, offering superior performance and safety for operators in roof and façade works. H-RAIL can be retrofitted and is suitable for both industrial and residential maintenance. It is made of high-quality, durable materials and has an ergonomic design that blends into the architecture without compromising on aesthetics.
- Dimensions (W,H,L): 49 mm x 49 mm x 60 mm
Read more about H-RAIL ON WALL here!
3 092 SEK incl. VAT
Product to order
| Article number | RAIL TERMINALS |
|---|---|
| Trade mark | Rotho Blaas |
| Category | Horizontal rail systems |
| EAN | 8033224488875 |
